No credit card fees. No sales tax outside of WA State.
No credit card fees. No sales tax outside of WA State.
No credit card fees. No sales tax outside of WA State.
No credit card fees. No sales tax outside of WA State.
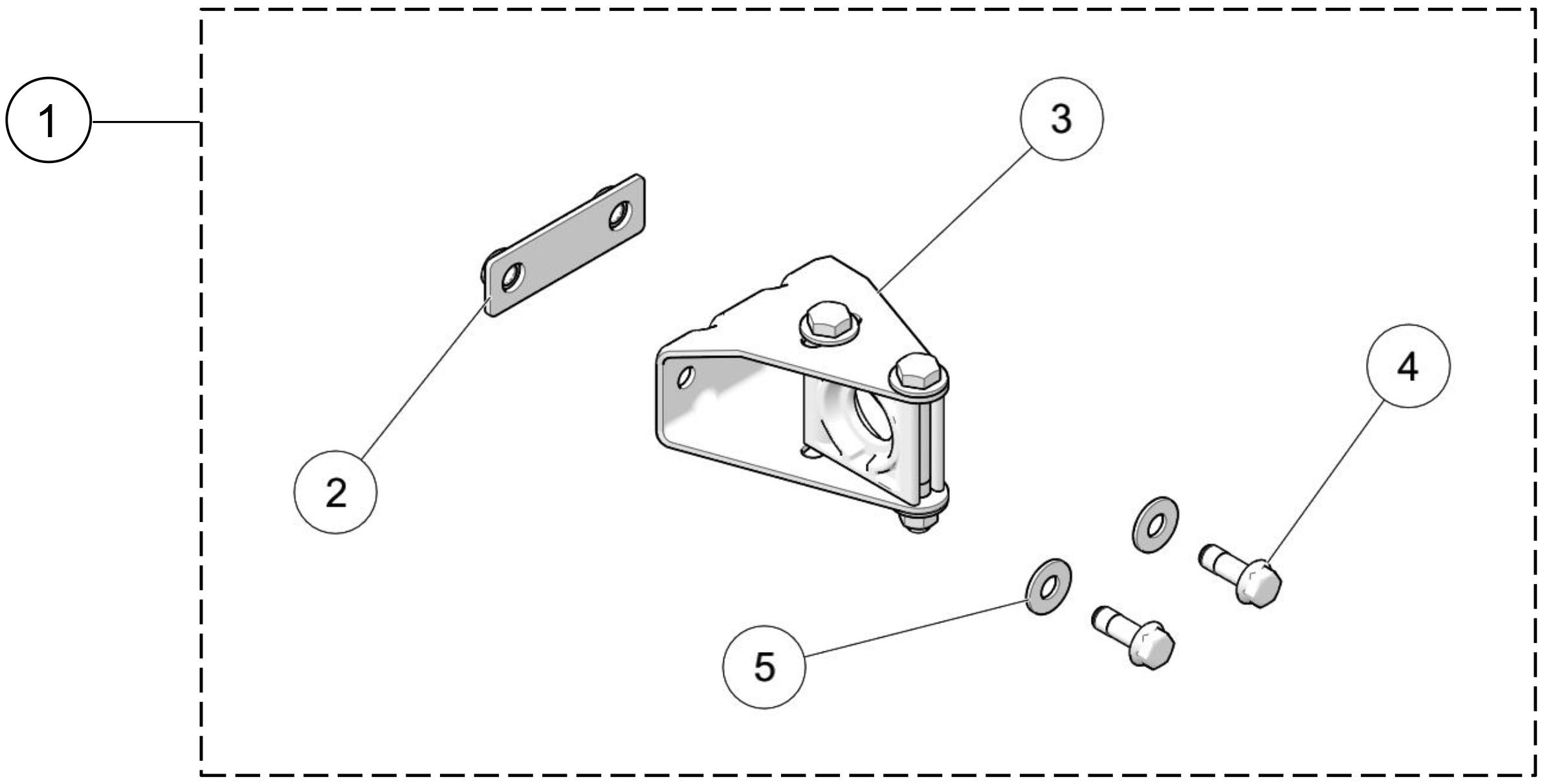
2023 T4S Anti-Rotation Independent Suspension
ATV Track Parts
Camso ATV UTV T4S MY2022 Anti-Rotation Independent Suspension

Keeping your 2023 T4S Anti-Rotation Independent Suspension performing at its peak means having access to the right replacement parts. This parts kit diagram shows every component available for your specific track system.
Kit Contents: S-KIT ANTI-ROTATION IND. SUSPENSION, UTV/ATV 10mm-1.5x30, Drive Gear Bolt, Torque: 70nm or 52ft lbs, W, 7/16X1.0X0.072, 8, ZP, USS.
Need help identifying the right part?
Call Us — (866)243-8359

