No credit card fees. No sales tax outside of WA State.
No credit card fees. No sales tax outside of WA State.
No credit card fees. No sales tax outside of WA State.
No credit card fees. No sales tax outside of WA State.
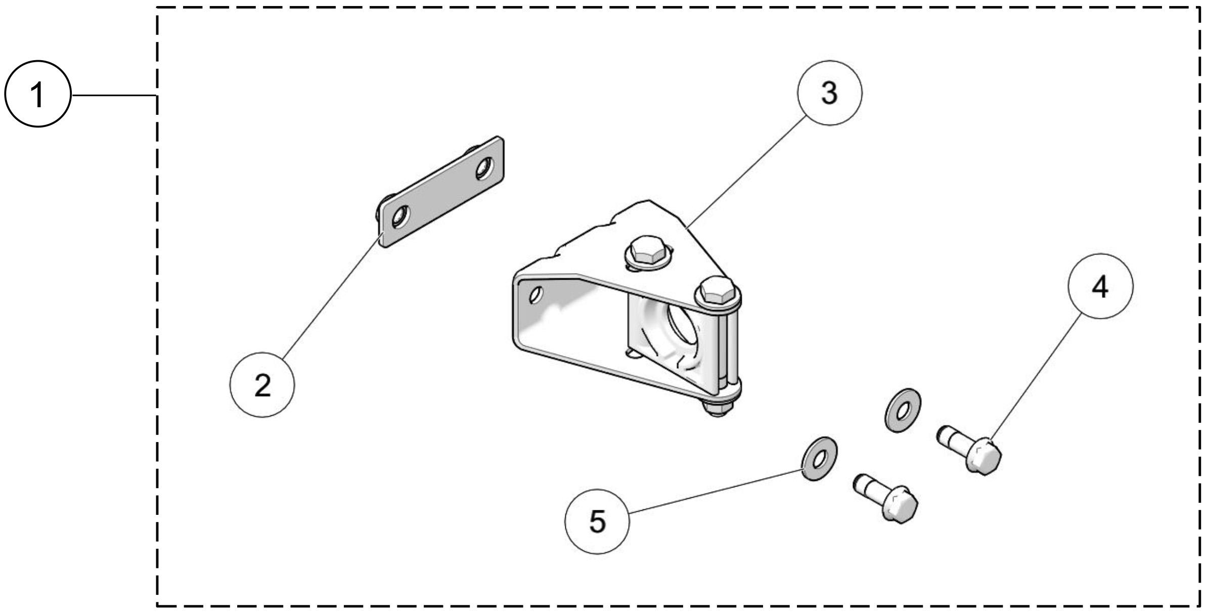
2020 X4S Anti-Rotation, Independent Suspension
Camso ATV-UTV 2022 Anti-Rotation, Independent Suspension
Keeping your 2020 X4S Anti-Rotation, Independent Suspension performing at its peak means having access to the right replacement parts. This parts kit diagram shows every component available for your specific track system.
Kit Contents: , , .
Need help identifying the right part?
Call Us — (866)243-8359


